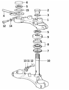
In your place, I would definitely replace the head bearings. The discolouration you refer to is brinelling, that is to say a slight undulation in the surface of the bearing caused by the fact that the needle roller isn't spinning, just moving back and forth through a limited arc. The result is a notchy feel to the steering as it moves from lock to lock. Even if you can't feel it at the moment, it is there and because it is impossible to set the bearing preload accurately, the wear will develop rapidly. Replacing the bearings is a simple enough job and the bearings themselves are cheap, the most time intensive part is clearing all of gubbins to get access. Since you're in there already, you'd be well advised to do the job now... the alternative is that you'll be taking it all apart again in a couple of thousand miles time...
Rob
Idiot v. Motorbikes, Rounds 3, 4, and 5
-
- Posts: 1335
- Joined: Thu Aug 26, 2010 2:11 pm
- Location: Scotland UK, 20 miles from civilisation up a dead end road!
- Contact:
- Zombie Master
- Posts: 8828
- Joined: Sun Aug 22, 2010 12:21 am
- Location: Vancouver Island BC Canada
Re: Idiot v. Motorbikes, Rounds 3, 4, and 5
Has anybody installed grease fittings on the steering head bearings?
Any and all disclaimers may apply
-
- Posts: 1335
- Joined: Thu Aug 26, 2010 2:11 pm
- Location: Scotland UK, 20 miles from civilisation up a dead end road!
- Contact:
Re: Idiot v. Motorbikes, Rounds 3, 4, and 5
Honestly can't think of a practical way to do that...Zombie Master wrote: ↑Sun Sep 19, 2021 1:41 pm Has anybody installed grease fittings on the steering head bearings?
Rob
Re: Idiot v. Motorbikes, Rounds 3, 4, and 5
I tried it a few decades ago.Rob Frankham wrote: ↑Sun Sep 19, 2021 2:28 pmHonestly can't think of a practical way to do that...Zombie Master wrote: ↑Sun Sep 19, 2021 1:41 pm Has anybody installed grease fittings on the steering head bearings?
Rob
I machined an aluminum plug to press fit into the bottom hole of the steering stem.
Installed a grease nurple on it.
My thought was that pressurized grease would fill the steering stem pipe (it did




The vertical tube frame section has cutouts that open into the main backbone tube so instead of the grease being forced out through the bearings to the outside, all I succeeded in doing ifs filling my frame backbone with grease. Luckily I stopped after about a tube and a half of grease

It would work if the passage between the short vertical frame tube and the backbone tube was sealed off (welded closed) but I never got around to doing that. Maybe next time my frame needs powder-coating I will.
Mechanic from Hell
"I remember every raging second of it...
My bike was on fire, the road was on fire, and I was on fire.
It was the best ride ever!"
"I remember every raging second of it...
My bike was on fire, the road was on fire, and I was on fire.
It was the best ride ever!"
-
- Posts: 1335
- Joined: Thu Aug 26, 2010 2:11 pm
- Location: Scotland UK, 20 miles from civilisation up a dead end road!
- Contact:
Re: Idiot v. Motorbikes, Rounds 3, 4, and 5
What about the hole at the top of the pipe? Did you block that... if not, surely the grease would simply exit there and go all over the top yoke. Of course, that wouldn't be satisfactory for models with steering dampers anyway.
My other comment would be that it would take an awful lot of grease and given the semi-solid nature of grease, it would tend to work it's way out of the lower bearing under gravity (there being no grease seal) and give a constantly recuring problem around the lower yoke.
Rob
My other comment would be that it would take an awful lot of grease and given the semi-solid nature of grease, it would tend to work it's way out of the lower bearing under gravity (there being no grease seal) and give a constantly recuring problem around the lower yoke.
Rob
Re: Idiot v. Motorbikes, Rounds 3, 4, and 5
My model has a solid cap in the top, no steering damper hole.Rob Frankham wrote: ↑Mon Sep 20, 2021 5:50 am What about the hole at the top of the pipe? Did you block that... if not, surely the grease would simply exit there and go all over the top yoke. Of course, that wouldn't be satisfactory for models with steering dampers anyway.
My other comment would be that it would take an awful lot of grease and given the semi-solid nature of grease, it would tend to work it's way out of the lower bearing under gravity (there being no grease seal) and give a constantly recuring problem around the lower yoke.
Rob
There are no 'real' seals, top or bottom, on all models.
Gravity could theoretically cause slight seepage but I don't see that being a major concern if thick grease is used.
Maybe it would just need a bit of wiping off once in a while.
I got the idea while looking at a spring loaded grease cap for boat trailers. The nipple moves out towards the circlip as you fill it with grease. The (weak) spring slightly pressurizes the grease, constantly pushing it through both bearings to keep water out. You just keep adding more grease as the spring causes it to slowly seep out the other end bearing seal over time. This eliminates the need to regularly disassemble, clean and repack bearings. Obviously the spring would not be needed in steering head applications.
- Attachments
-
- Untitled.jpeg (23.42 KiB) Viewed 1790 times
-
- boat-trailer-bearings-e.jpg (22.65 KiB) Viewed 1790 times
Mechanic from Hell
"I remember every raging second of it...
My bike was on fire, the road was on fire, and I was on fire.
It was the best ride ever!"
"I remember every raging second of it...
My bike was on fire, the road was on fire, and I was on fire.
It was the best ride ever!"
-
- Posts: 1335
- Joined: Thu Aug 26, 2010 2:11 pm
- Location: Scotland UK, 20 miles from civilisation up a dead end road!
- Contact:
Re: Idiot v. Motorbikes, Rounds 3, 4, and 5
Given your username, I would guess that your bike is a GS (see, told you I was quite bright...
) few other models use a solid top cap.... however, the caps can be obtained and retrofitted if you can do without the steering damper (on models that have one).
The swing arm bearings, of course, do very much the same thing... you inject grease through the centre of the bearing pin and that is forced out through the bearing but they do have grease shields and it does tend to cause a bit of a mess in the area...
Rob

The swing arm bearings, of course, do very much the same thing... you inject grease through the centre of the bearing pin and that is forced out through the bearing but they do have grease shields and it does tend to cause a bit of a mess in the area...
Rob
Re: Idiot v. Motorbikes, Rounds 3, 4, and 5
FYI - Another area that paralever models differ....Rob Frankham wrote: ↑Tue Sep 21, 2021 5:42 am The swing arm bearings, of course, do very much the same thing... you inject grease through the centre of the bearing pin and that is forced out through the bearing but they do have grease shields and it does tend to cause a bit of a mess in the area...
Rob
The driveshaft does not run in oil; there is no obstruction behind the swingarm bearings.
There's a big hole right through, with only locating ridges to seat the bearings on.
Can't use the standard "airhead pressure grease method" (you'd end up filling up the whole swingarm with grease)
- Attachments
-
- B0000765.png (23.04 KiB) Viewed 1751 times
Mechanic from Hell
"I remember every raging second of it...
My bike was on fire, the road was on fire, and I was on fire.
It was the best ride ever!"
"I remember every raging second of it...
My bike was on fire, the road was on fire, and I was on fire.
It was the best ride ever!"
Re: Idiot v. Motorbikes, Rounds 3, 4, and 5
Nice head bearing zerk debate! I had considered something similar on Ernst as I had pulled the steering damper and corked the steering lock. I think the head tube on /6 had no other escape route.
Working on odds 'n' ends right now. Here's the reed valve breather which replaced the turkey gobbler:

This is a redundant ground harness that Craig Hansen recommended. It was a bit more work to make it than I had originally anticipated, but I'm glad to have it done:

It runs from the back of the diode board to the starter bracket to the alternator case.
Finally, with all that done I put the starter back in and put the cover and clamshell back together:

Edgar has his identity back. I found my tube of black Fast Tack and glued the badges back on.
Parts arrived today sufficient to get the fork back together which will be the next step. Rings came also so I'll pull the jugs once the bike is back on two wheels
Working on odds 'n' ends right now. Here's the reed valve breather which replaced the turkey gobbler:

This is a redundant ground harness that Craig Hansen recommended. It was a bit more work to make it than I had originally anticipated, but I'm glad to have it done:

It runs from the back of the diode board to the starter bracket to the alternator case.
Finally, with all that done I put the starter back in and put the cover and clamshell back together:

Edgar has his identity back. I found my tube of black Fast Tack and glued the badges back on.
Parts arrived today sufficient to get the fork back together which will be the next step. Rings came also so I'll pull the jugs once the bike is back on two wheels
Call me Mel. Some years ago- never mind how long precisely- having little or no money in my purse, and nothing particular to interest me at home, I thought I would ride about a little and see the other parts of the world.
-
- Posts: 1335
- Joined: Thu Aug 26, 2010 2:11 pm
- Location: Scotland UK, 20 miles from civilisation up a dead end road!
- Contact:
Re: Idiot v. Motorbikes, Rounds 3, 4, and 5
OK, wasn't aware of that...a swing arm full of grease moght be considered a bit excessivegspd wrote: ↑Tue Sep 21, 2021 4:11 pmFYI - Another area that paralever models differ....Rob Frankham wrote: ↑Tue Sep 21, 2021 5:42 am The swing arm bearings, of course, do very much the same thing... you inject grease through the centre of the bearing pin and that is forced out through the bearing but they do have grease shields and it does tend to cause a bit of a mess in the area...
Rob
The driveshaft does not run in oil; there is no obstruction behind the swingarm bearings.
There's a big hole right through, with only locating ridges to seat the bearings on.
Can't use the standard "airhead pressure grease method" (you'd end up filling up the whole swingarm with grease)

Rob